Время работы: пн-пт: с 8:30 до 17:30, без обеда
Оптовые поставки
компонентов гидравлики
и пневматики

Станции смазочные типа И-СЭ

Станции смазочные типа И-СЭ  Станции смазочные типа И-СЭ эксплуатируются на чистых минеральных маслах (класс чистоты должен быть не ниже 14) с кинематической вязкостью от 30 до 600 мм2/с. Температура масла должна быть от +50С до +500С, температура окружающей среды—от +10С до +400С.
Станции смазочные (станции смазки) входят в комплектацию импульсных смазочных систем с электроприводом и подают смазочный материал к импульсным смазочным питателям.

Структура условного обозначения станций смазочных типа И-СЭ
И-СЭХ/ХХХХТУ2-053-1623-82
И-СЭТип смазочной станции
ХВместимость бака, дм3
/
ХНоминальная подача, л/мин
ХХХКлиматическое исполнение и категория размещения по ГОСТ 15150 (УХЛ4, О4.1)
Пример условного обозначения: И-СЭ-2,5/0,5 УХЛ4; И-СЭ-10/1,0 О4.1

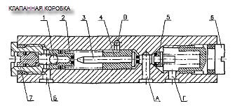
Устройство станций смазки типа И-СЭ (см.Рис.1):
Станции смазочные И-СЭ состоят из бака (поз.7) (для И-СЭ 2,5/0,5 он выполнен из прозрачной пластмассы вместимостью 2,5 дм3; для И-СЭ 10/0,5 и 10/1,0–металлический с маслоуказателями верхнего и нижнего уровней вместимостью 10 дм3 ), закрытого крышкой (поз.3), к которой крепится насосная установка в виде шестеренного насоса (поз.5) с электродвигателем (поз.1), клапанная коробка (поз.2) с дросселем (поз.8) выпуска воздуха, реле уровня (поз.6) и заливной фильтр (поз.4) с воздушным фильтром. Места для крепления станций расположены на крышке.

Принцип действия станций смазки типа И-СЭ (см.Рис.1/А):

При подаче питания на электродвигатель станции шестерённый насос подает масло из бака во входной канал «А» клапанной коробки. Под действием давления масла поршень 4 вместе с клапаном 3 перемещается, сжимая пружину 2, при этом сливной канал «Б» закрывается разгрузочным клапаном 3. Затем поршень 4, перемещаясь дальше по клапану, открывает проход масла к выходному каналу «В». При достижении давления настройки предохранительного клапана 5 масло через него сливается обратно в бак через канал «Г». После отключения электродвигателя и насоса поршень с клапаном под действием пружины возвращается в исходное положение, при этом входной канал перекрывается, а выходной канал соединяется со сливным через подпорный клапан 1.

Рис..1/А



Технические характеристики станций смазки типа И-СЭ

Наименование параметраНорма для станций
И-СЭ-2,5/0,5И-СЭ-10/0,5И-СЭ-10/1,0
Номинальная подача, л/мин0,5±0,1250,5±0,1251,0±0,25
Номинальная вместимость резервуара, дм3, не менее2,51010
Давление нагнетания, МПа
- номинальное2,5
- максимальное3,2
Давление настройки предохранительного клапана, МПа3,0±0,2
Давление настройки подпорного клапана, МПа0,04±0,02
Коэффициент подачи, не менее0,72
Тип насосашестеренный
Мощность приводного электродвигателя, кВт, не более0,09
Масса (без масла), кг, не более6,013,515,0


Габаритные и присоединительные размеры станций смазки типа И-СЭ см. здесь


производитель
НЗСФО





Ещё из раздела Смазочное оборудование

Станции смазочные типа С48-1..М нагнетают в смазочные системы различных станков и агрегатов отфильтрованный до 40мкм жидкий смазочный материал. Кинематическая вязкость смазочного материала при температуре от +5 0 С до +50 0 С должна быть от 10 до ...
Станция смазки типа MPO- предназначена для подачи жидкой смазки и входит в состав централизованных смазочных систем последовательного действия. Станция смазки типа МРО (иначе насосная станция) имеет электрическое управление и оснащена трёхфазным ...
Станция смазочная двухмагистральная типа СДР относится к ручным станциям смазки, так как нагнетание смазочного материала, имеющего число пенетрации 250-360 (при 25°С), осуществляется вручную. Смазочный материал должен быть отфильтрован от частиц ...
Шприц ручной густой смазки типа ШРГ-.. используют для подачи консистентной смазки с пенетрацией не менее 280 при температуре 25 0 С через маслёнку к смазываемым точкам (трущимся поверхностям). Шприц ручной густой смазки типа ШРГ-.. состоит из ...
  • производитель: DropsA
Инжекторы (дозирующие клапаны) серии 33V (Dropsa) применяются в местах, где требуется точное и безотказное дозирование смазки. При этом вязкость смазки, давление и температура для данного типа клапанов не имеют значения. Инжекторы серии 33V ...
  • производитель: DropsA
Несмотря на небольшие размеры, насосная станция BRAVO обладает высокой производительностью, что делает возможным её применение на различном оборудовании, работающем как в закрытых помещениях, так и на мобильных установках и транспорте. Инновационная ...
  • производитель: DropsA
Модульные прогрессивные никелированные питатели (иначе распределители) серии SMO-SMX от «Dropsa» имеют сертификат СЕ и маркировку ATEX (Ex II2GD), что позволяет устанавливать их на оборудовании, работающем в взрывоопасных зонах. Надёжность и ...
  • производитель: DropsA
Если есть ограничение пространства, то для смазки целесообразно применять компактный, простой в устройстве, одноблочный прогрессивный делительный клапан типа SMP (Dropsa), иначе распределитель. Распределители типа SMP могут иметь 6,8,10,12,14,16,18 ...
  • производитель: DropsA
Аналогично распределителям SMP прогрессивные распределители типа SMPM благодаря компактной конструкции применяются в местах с ограниченным пространством для установки. Прогрессивные распределители SMPM (Dropsa) являются моноблочными. Распределители ...
  • производитель: DropsA
Прогрессивные дозирующие элементы серии "SA" выполнены из стали, имеют закалённый золотник (поршень) и высокопрочное уплотнительное кольцо. Конструкция дозирующего элемента SA даёт возможность соединять и разъединять выходы. См.Рис.1. РИС.1 ...
  • производитель: DropsA
Прогрессивный модульный распределитель SXO является моноблочным и выполнен в алюминиевом корпусе. Иначе распределитель типа SXO можно назвать дозатор или питатель. Данный тип дозатора использует однолинейную магистраль для подачи смазочного ...
  • производитель: SHOWA
В данном разделе представлены основные типы автоматических смазочных станций. С общей информацией о продукции бренда SHOWA можно ознакомиться в обзорном каталоге в разделе "Наши бренды", выбрав бренд SHOWA. 1) Showa MY6 Accumulator Pump 2) Showa ...
© 2026 Фаритэкс-М